Výhodou pevného připojení je snadná manipulace při navíjení a roztažení solární fólie.
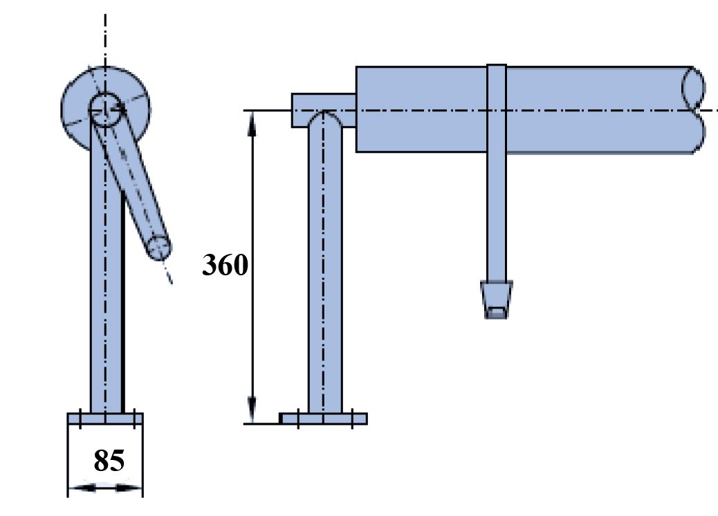
Naviják na solární plachtu se pomocí hmoždinek napevno instaluje u bazénu. Navíjecí zařízení je vyrobeno z nerezové oceli AISI-304
Pro kompletní navíjecí zařízení je nutné dokoupit teleskopickou tyč.
