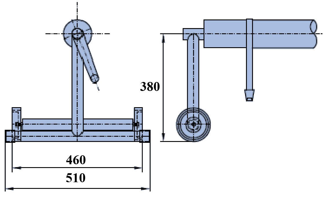
Navíjecí zařízení má na protilehlé straně od navíjecí kliky stojan zakončen pojízdnými kolečky. Po svinutí solární fólie lze jednoduše odjet na určené místo, a volně tak využít prostor u bazénu. Nerezový naviják na solární plachtu je lehký - manipulace není obtížná.
Pro kompletní navíjecí zařízení je nutné dokoupit teleskopickou tyč.
